* Поиск по сайту Вверх Вниз



Начать новую тему Ответить на тему  [ Сообщений: 14 ] 
Автор Сообщение
 Заголовок сообщения: схемка для включ. на 3 сек. бенз-соса перед запуском двига
СообщениеДобавлено: 17 янв 2009, 14:20 
Не в сети
Местный
Местный
Аватара пользователя

Зарегистрирован: 01 янв 2006, 04:00
Сообщения: 10044
Тем: 182
Откуда: ХМАО Роман
Машина: др. неЯпонка
О машине: Volkswagen Tiguan
Репутация: 710
Рекламные ссылки. Показывается только незарегистрированным пользователям


схемка кому нужно (сам не проверял - кто то выкладывал её на форуме), только на Ардео надо НЕ + 12 Вольт подавать на катушку реле насоса через контакт на схеме, оно и так подается сразу после поворота ключа в замке зажигания еще до прокрутки стартером, а подавать массу от куда-нибудь с кузова на 2 контакт (именно массой через транзистор ЭБУ включается реле насоса):


Вложения:
схемка для включения на 3 сек. бензанасоса перед включением стартера.jpg
схемка для включения на 3 сек. бензанасоса перед включением стартера.jpg [ 66.42 КБ | Просмотров: 5728 ]

_________________
Управлял шесть лет японской мечтой - Toyota Vista Ardeo, теперь управляю немецкой мечтой - DAS AUTO.
Вернуться к началу
 Профиль  
Ответить на тему 

 Заголовок сообщения:
СообщениеДобавлено: 14 апр 2009, 14:52 
Не в сети
Местный
Местный
Аватара пользователя

Зарегистрирован: 01 янв 2006, 04:00
Сообщения: 10044
Тем: 182
Откуда: ХМАО Роман
Машина: др. неЯпонка
О машине: Volkswagen Tiguan
Репутация: 710
Для Ардео я изменил немного схему (у нас не +, а минус подается через транзистор ЭБУ на катушку реле насоса, поэтому минус с земли и надо подавать через дополнительное реле на 2 контакт реле топливного насоса):


Вложения:
отсканированное изображение00018.jpg
отсканированное изображение00018.jpg [ 57.2 КБ | Просмотров: 5625 ]

_________________
Управлял шесть лет японской мечтой - Toyota Vista Ardeo, теперь управляю немецкой мечтой - DAS AUTO.
Вернуться к началу
 Профиль  
Ответить на тему 
 Заголовок сообщения:
СообщениеДобавлено: 17 апр 2009, 12:52 
Не в сети
Гуру
Гуру
Аватара пользователя

Зарегистрирован: 05 окт 2006, 03:00
Сообщения: 2038
Тем: 48
Откуда: Н.Н.
Репутация: 53
Ром, а зачем это?
В морозы, при автозапуске так и так есть задержка (можно до 10 сек настроить на сигналке), а на горячую каждый раз ждать ....нервов не хватит.

_________________
Ardeo (рестал 2000г.в., D4, диван, тв, мультик, shift matik...) + Ноах (2000г.в.) + Corolla (АЕ100)


Вернуться к началу
 Профиль  
Ответить на тему 
 Заголовок сообщения:
СообщениеДобавлено: 17 апр 2009, 22:34 
Не в сети
Местный
Местный
Аватара пользователя

Зарегистрирован: 01 янв 2006, 04:00
Сообщения: 10044
Тем: 182
Откуда: ХМАО Роман
Машина: др. неЯпонка
О машине: Volkswagen Tiguan
Репутация: 710
Да иной раз люди спрашивают про это, вот для чего. Кто то утверждает что бензанаксос не просто при прокрутке стартером включается, а еще и при определенных оборотах. Поэтому у того у кого давление в рейке не держится это вполне может быть актуальным после ночной стоянки.

_________________
Управлял шесть лет японской мечтой - Toyota Vista Ardeo, теперь управляю немецкой мечтой - DAS AUTO.


Вернуться к началу
 Профиль  
Ответить на тему 
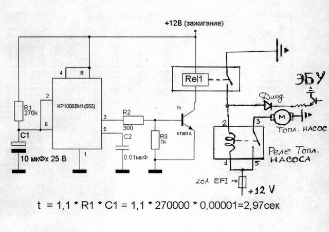
 Заголовок сообщения: Схема вкл. топл. реле на 3 секунды перед запуском двигателя.
СообщениеДобавлено: 31 дек 2009, 11:44 
Не в сети
Местный
Местный
Аватара пользователя

Зарегистрирован: 01 янв 2006, 04:00
Сообщения: 10044
Тем: 182
Откуда: ХМАО Роман
Машина: др. неЯпонка
О машине: Volkswagen Tiguan
Репутация: 710
Как от сердца отрываю... 8) Кто то выложил на форуме эту схемку, а я одаптировал её для нашей Висты, с учетом того что надо подавать именно массу на катушку реле топливного насоса, так как именно с масса идет с ЭБУ через транзистор для включения реле бензанасоса. А +12 на катушку реле приходит постоянно....

Т.е. по этой схеме после после включения зажигания, если запуск двигателя не произошел по какой то причине, то через 3 секунды (время можно варьировать подбором емкости конденсаторов) реле топливного насоса все равно отключится.

Этого достаточно что бы создать давления бензина в топливной рампе после ночной стоянки и безопасно для насоса.


Вложения:
Эл.схема вкл. бензанасоса на 3 сек..jpg
Эл.схема вкл. бензанасоса на 3 сек..jpg [ 57.2 КБ | Просмотров: 5784 ]

_________________
Управлял шесть лет японской мечтой - Toyota Vista Ardeo, теперь управляю немецкой мечтой - DAS AUTO.
Вернуться к началу
 Профиль  
Ответить на тему 
 Заголовок сообщения:
СообщениеДобавлено: 02 янв 2010, 00:27 
Не в сети
Гуру
Гуру
Аватара пользователя

Зарегистрирован: 08 авг 2007, 03:00
Сообщения: 1169
Тем: 42
Откуда: Хабаровск
Репутация: 86
Них..на себе... даже микруху 555 серии зафигачили... Вообщето у 555 серии микрух написано, что на морозе они фурычить не будут...
Я думаю проще было RC фильтр для задержки посчитать. А для релюхи еще проще просто кондер подобрать, чтобы на 3 сек держалась.

_________________
А связь у меня никогда не обpыва¬%Я(¦P^1AZFSE NO CARRIER


Вернуться к началу
 Профиль  
Ответить на тему 
 Заголовок сообщения: Re: Схема вкл. топл. реле на 3 секунды перед запуском двигат
СообщениеДобавлено: 23 окт 2010, 16:31 
Не в сети
Гуру
Гуру
Аватара пользователя

Зарегистрирован: 15 янв 2009, 04:00
Сообщения: 1570
Тем: 78
Откуда: Москва
Машина: др. Японка
О машине: 3S-FSE(D-4)'99, SV-50, мультик.(была)
Репутация: 557
а нельзя нам вывести провода с реле на кнопочку в салоне? Сел-нажал кнопочку на 3-5 секунд-бензонасос поработал, отпустил и заводись.... Или эта мудреная схема еще и сигналкой с автозапуском работает?

и второй вопрос-хочу пока просто проверить, поможет ли колхоз с бензонасосом проблеме запуска... Могу ли я просто перемкнуть какие-нить контакты вместо реле, чтобы насос заработал, а потом уже воткнуть реле и завести?


Вернуться к началу
 Профиль  
Ответить на тему 
 Заголовок сообщения: Re: Схема вкл. топл. реле на 3 секунды перед запуском двигат
СообщениеДобавлено: 25 окт 2010, 14:49 
Не в сети
модератор
Аватара пользователя

Зарегистрирован: 05 май 2009, 03:00
Сообщения: 6759
Тем: 72
Откуда: Ставрополье
Блог: Посмотреть блог (7)
Машина: Toyota Vista
О машине: седан SV50, 3S-FSE, U240E, 98г.
Репутация: 1473
Можешь. Монтажный блок со стороны пассажира - находишь реле бензонасоса и подаёщь +12 на контакт под №3.

_________________
Случайности не случайны...


Вернуться к началу
 Профиль  
Ответить на тему 
 Заголовок сообщения: Re: Схема вкл. топл. реле на 3 секунды перед запуском двигат
СообщениеДобавлено: 25 окт 2010, 16:17 
Не в сети
Гуру
Гуру
Аватара пользователя

Зарегистрирован: 15 янв 2009, 04:00
Сообщения: 1570
Тем: 78
Откуда: Москва
Машина: др. Японка
О машине: 3S-FSE(D-4)'99, SV-50, мультик.(была)
Репутация: 557
ага, спасибо :) а зачем тогда схему мудрить? в чем ее плюсы?


Вернуться к началу
 Профиль  
Ответить на тему 
 Заголовок сообщения: Re: Схема вкл. топл. реле на 3 секунды перед запуском двигат
СообщениеДобавлено: 25 окт 2010, 17:25 
Не в сети
модератор
Аватара пользователя

Зарегистрирован: 05 май 2009, 03:00
Сообщения: 6759
Тем: 72
Откуда: Ставрополье
Блог: Посмотреть блог (7)
Машина: Toyota Vista
О машине: седан SV50, 3S-FSE, U240E, 98г.
Репутация: 1473
Mixx писал(а):
ага, спасибо :) а зачем тогда схему мудрить? в чем ее плюсы?


читай внимательнее первый пост:
Т.е. по этой схеме после после включения зажигания, если запуск двигателя не произошел по какой то причине, то через 3 секунды реле топливного насоса все равно отключится.

_________________
Случайности не случайны...


Вернуться к началу
 Профиль  
Ответить на тему 
 Заголовок сообщения: Re: схемка для включ. на 3 сек. бенз-соса перед запуском двига
СообщениеДобавлено: 03 ноя 2011, 20:53 
Не в сети
Профи
Профи
Аватара пользователя

Зарегистрирован: 09 фев 2011, 22:35
Сообщения: 685
Тем: 10
Откуда: Новосибирск
Машина: Toyota Vista Ardeo
О машине: SV50,3s-fse рестайл
Репутация: 142
А кто-нибудь уже исполнял эту схемку, для себя или своих знакомых? Справляется со своей задачей? В электронике вообще не шарю. Сколько может стоить изготовление и установка такой штуки?

_________________
РЕМОНТ и ГИЛЬЗОВКА ДВИГАТЕЛЕЙ 1zz ПРОДАЖА и УСТАНОВКА ВОССТАНОВЛЕННЫХ ДВИГАТЕЛЕЙ 1ZZ
...а так же РЕМОНТ,1NZ,2NZ, 3S,4S,4Е,5Е,7А,CR12DE, CR14DE, D4, FP1.8DE,FS2.0DE...
JEKA480


Вернуться к началу
 Профиль Отправить email  
Ответить на тему 
 Заголовок сообщения: Re: схемка для включ. на 3 сек. бенз-соса перед запуском двига
СообщениеДобавлено: 08 ноя 2011, 02:33 
Не в сети
Гуру
Гуру
Аватара пользователя

Зарегистрирован: 05 окт 2006, 03:00
Сообщения: 2038
Тем: 48
Откуда: Н.Н.
Репутация: 53
Вытащил реле топливного насоса, вставил перемычку и вуа-ля!
Теперь насос качает при вкл зажигания. и не надо мудрить с транзисторами всяким, микрухами.
Даже в мануале это написано.
И в мороз хуже не будет.

_________________
Ardeo (рестал 2000г.в., D4, диван, тв, мультик, shift matik...) + Ноах (2000г.в.) + Corolla (АЕ100)


Вернуться к началу
 Профиль  
Ответить на тему 
 Заголовок сообщения: Re: схемка для включ. на 3 сек. бенз-соса перед запуском двига
СообщениеДобавлено: 09 ноя 2011, 21:03 
Не в сети
Профи
Профи
Аватара пользователя

Зарегистрирован: 09 фев 2011, 22:35
Сообщения: 685
Тем: 10
Откуда: Новосибирск
Машина: Toyota Vista Ardeo
О машине: SV50,3s-fse рестайл
Репутация: 142
groman писал(а):
Вытащил реле топливного насоса, вставил перемычку и вуа-ля!
Теперь насос качает при вкл зажигания. и не надо мудрить с транзисторами всяким, микрухами.
Даже в мануале это написано.
И в мороз хуже не будет.

А какие проблемы могут возникнуть из-за перемычки? Я этого боюсь.
Перемычку поставил, а задержки стартера на сиге нет по этому с автозапуска только с 3-4 раза.
Вот и подумал что может 3 сек помогут.

_________________
РЕМОНТ и ГИЛЬЗОВКА ДВИГАТЕЛЕЙ 1zz ПРОДАЖА и УСТАНОВКА ВОССТАНОВЛЕННЫХ ДВИГАТЕЛЕЙ 1ZZ
...а так же РЕМОНТ,1NZ,2NZ, 3S,4S,4Е,5Е,7А,CR12DE, CR14DE, D4, FP1.8DE,FS2.0DE...
JEKA480


Вернуться к началу
 Профиль Отправить email  
Ответить на тему 
 Заголовок сообщения: Re: схемка для включ. на 3 сек. бенз-соса перед запуском двига
СообщениеДобавлено: 10 янв 2015, 01:42 
Не в сети
Начинающий
Начинающий

Зарегистрирован: 15 июл 2014, 22:15
Сообщения: 10
Откуда: Барнаул
Машина: Toyota Vista Ardeo
Репутация: 0
там две пары контактов (на реле) надо замыкать обе пары или какую то одну пару?


Вернуться к началу
 Профиль Отправить email  
Ответить на тему 

Показать сообщения за:  Поле сортировки  
Начать новую тему Ответить на тему

 [ Сообщений: 14 ] 





* Поиск по сайту Вверх Вниз

Кто сейчас на конференции

Сейчас этот форум просматривают: нет зарегистрированных пользователей и гости: 0


Вы не можете начинать темы
Вы не можете отвечать на сообщения
Вы не можете редактировать свои сообщения
Вы не можете удалять свои сообщения
Вы не можете добавлять вложения

Найти:
Перейти:  
Текущее время: 01 май 2026, 07:47
Часовой пояс: UTC + 7 часов
Powered by phpbb. (c) VistaClub.ru.    * Статистика